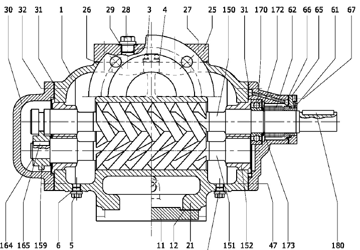
Easily identify and locate replacement parts for your pumps with our comprehensive cross-sections conveniently available on our website. Gain a deeper understanding of your equipment’s inner workings, enabling you to pinpoint the exact parts needed for replacement or maintenance. With detailed cross-sections at your fingertips, streamlining the process of sourcing and ordering replacement parts has never been easier.


